019 86 05 55 (non surtaxé) ou service client (réponse sous 4H)

Dent droite forgée pour herse rotative KUHN KH2500090 adaptable

Référence : 362627 Expédié par Agryco

Dent droite forgée est adaptée pour les herses rotatives KUHN.
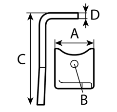
Caractéristiques :
• A : 120 mm
• B : 19,0 mm
• C : 315 mm
• D : 16 mm
• Type : 1

Lire la suite

Modes de livraison disponibles pour ce produit

Ce produit est compatible avec

Marques

  • KUHN

Références d'origine

KH2500090

Description du produit

Type de machine
Herse rotative
C (mm)
315
B (mm)
19,0
A (mm)
120
Droite / Gauche
Droite
Poids (kg)
3,70
Convient pour
KUHN
Finition
Normale
Qualité de pièce
Adaptable
D (mm)
16